Apple được cho là đang phát triển phiên bản “con lai” iPad-MacBook
Theo Mark Gurman của Bloomberg, Apple đang phát triền một thiết bị Hybrid giữa iPad và Macbook có màn hình gập 20 inch.
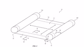
Apple hiện được cho là đang làm việc trên một thiết bị mới có màn hình gập, có thể hoạt động như một máy tính bảng và máy tính xách tay.
Theo Mark Gurman, “gã khổng lồ công nghệ” hiện đang trong quá trình phát triển “iPad-MacBook Hybrid”. Mang màn hình gập kích thước 20 inch, thiết bị sẽ có hai phần là màn hình hiển thị và bàn phím cùng bàn di chuột với tất cả các chức năng hoàn toàn dựa trên cảm ứng.
Một số concept khả thi được cư dân mạng truyền tay nhau về hình dáng của chiếc máy lai iPad-Macbook...
Một kiểu dáng iPad màn hình gập từng được đồn đại.
Giám đốc điều hành kiêm nhà phân tích Ross Young của Display Supply Chain Consultants đã đưa ra tuyên bố tương tự và Gurman hy vọng công nghệ mới sẽ được phát hành vào khoảng năm 2026, trùng với thời điểm ra mắt dự kiến cho chiếc xe điện được đồn đại từ lâu của Apple.
Apple Park là một khu phức hợp khổng lồ của Apple với diện tích hơn 2,8 triệu mét vuông, có thiết kế vòng tròn chu vi khoảng 1,6km với rất nhiều mảng xanh bên trong lẫn bao quanh bên ngoài.
Apple đã mời cựu giám đốc điều hành cấp cao tại bộ phận xe điện của BMW, Ulrich Kranz để tham gia vào các sáng kiến phát triển ô tô của mình, công ty xác nhận.
Chủ động chuẩn bị đầy đủ vật tư, thiết bị chính Thủy điện Trung Sơn phối hợp với Nhà thầu dịch vụ Công ty CP Thủy điện A Vương, bố trí đủ nhân lực, vật tư, phương tiện, dụng cụ thi công phù hợp cho công tác đại tu, nhằm đảm bảo hoàn thành công tác đại tu tổ máy H3 đúng tiến độ và kế hoạch...
GE đã giới thiệu về giải số như: Quản lý hiệu suất tài sản - APM (Asset Performance Management) và Giải pháp tối ưu hóa lò hơi – BoilerOpt; Đánh giá về giá trị làm lợi của giải pháp mang lại đối với từng nhà máy...
Trong khi mùa 1 chưa có dấu hiệu hạ nhiệt, các “mọt phim” lại tiếp tục đón phim truyền hình Hàn Quốc 2023 khi có tới 8 bộ phim đang rục rịch công chiếu mùa mới.
Trầm không chỉ là câu chuyện của gỗ quý, hương sâu. Trầm là hành trình mấy ngàn năm của nhân loại đi từ việc khám phá, ứng dụng đến đúc kết, thực hành những giá trị Chân - Thiện – Mỹ và An!
Tại một số hội thảo chuyên đề trong khuôn khổ Ngày hội Cotton Day 2022 sẽ mang đến những chia sẻ của chuyên gia về giải pháp phát triển bền vững, vấn đề truy xuất nguồn gốc xuất xứ...
“Dù đơn hàng xuất khẩu dệt may 3 tháng gần đây sụt giảm và tình hình cho thấy sẽ tiếp tục giảm sâu vào 3 tháng còn lại năm nay nhưng dự báo kết thúc năm nay xuất khẩu của “Dệt May vẫn sẽ đạt mục tiêu kim ngạch 44 tỉ USD”, là nhận định ông Vũ Đức Giang, Chủ tịch Hiệp hội Dệt may Việt Nam...
Ngày 11/10/2022, 10 Hiệp hội doanh nghiệp đã gửi đến Bộ TN&MT kiến nghị nhiều nội dung trong "Dự thảo Thông tư ban hành quy chế quản lý, sử dụng đóng góp tài chính của nhà sản xuất, nhập khẩu vào Quỹ Bảo vệ môi trường Việt Nam để hỗ trợ tái chế, xử lý chất thải”...
Tại Lễ công bố sản phẩm đạt Thương hiệu Quốc gia Việt Nam lần thứ 8 năm 2022 Hội đồng THQG cho biết sẽ ngành Dệt May sẽ có 7 doanh nghiệp nhận chứng nhận sản phẩm đạt giải năm nay...
với thị trường nội địa May 10 cho biết với mong muốn mang lại những sản phẩm thời trang đẳng cấp, thuần Việt nhưng mang hơi thở và xu hướng thời trang quốc tế...
Giai đoạn 2023-2025, dự báo kinh tế thế giới vẫn còn có nhiều bất ổn, ngành dệt may cần có hướng đi mới, giảm phụ thuộc vào thị trường quốc tế, tự chủ nguồn cung nguyên phụ liệu, tận dụng các lợi thế có sẵn khai thác hiệu quả thị trường nội địa...
Được đánh giá là một trong những Triễn lãm thương mại chuyên ngành dệt may lớn nhất. Ban tổ chức cho biết năm nay với quy mô diện tích gian hàng 4.000 m2, sự kiện thu hút sự tham gia của hơn 160 đơn vị triển lãm uy tín...
có số lượng lớn doanh nghiệp và lực lương lao động sản xuất và gia công cho các nhãn hàng dệt may và da giày của châu Âu, các diễn giả phía Việt Nam bày tỏ sự quan tâm và những băn khoăn trước bối cảnh trách nhiệm tra soát ngày càng được yêu cầu chặt chẽ từ phía các quốc gia tiêu thụ...
Chia sẻ với Tạp chí Công Thương, ông Vũ Đức Giang - Chủ tịch Hiệp hội Dệt may Việt Nam (VITAS) cho rằng cần sớm ban hành Chiến lược phát triển ngành dệt may đến năm 2030, tầm nhìn năm 2035, kịp thời quy hoạch ngành trên quy mô toàn quốc để tháo nút thắt về nguồn cung nguyên vật liệu thiếu hụt.
Hiệp hội Bông Mỹ (CCI) sẽ phối hợp với Vitas tổ chức chương trình Cotton Day Vietnam 2021. Chương trình được tổ chức trên nền tảng trực tuyến 6Connex vào ngày 1/12/2021 với chủ đề “Sự bền vững và minh bạch quý vị có thể tin tưởng”.
Mặc dù chịu ảnh hưởng nặng nề của đại dịch Covid-19, đặc biệt trong quý III nhưng xuất khẩu hàng dệt may của Việt Nam đã vượt lên khó khăn duy trì đà tăng trưởng tốt trong năm 2021. Kim ngạch cả năm ước đạt 39 tỷ USD, tăng 11,2% so với năm 2020.